找回密码
 注册

Sign in with Twitter

It's what's happening?

微信登录

微信扫一扫,快速登录

查看: 343|回复: 0

[关税] 美国对我国石墨征收160%的关税

[复制链接]
发表于 2025-7-21 20:51 | 显示全部楼层 |阅读模式

马上注册,结交更多好友,享用更多功能,让你轻松玩转社区。

您需要 登录 才可以下载或查看,没有账号?注册 微信登录

×
作者:微信文章
w1.jpg

w2.jpg

喜欢



对一个高度依赖你资源的人,用不着直接翻脸

你要,就按这个价拿

不要,我也不劝你。

w3.jpg

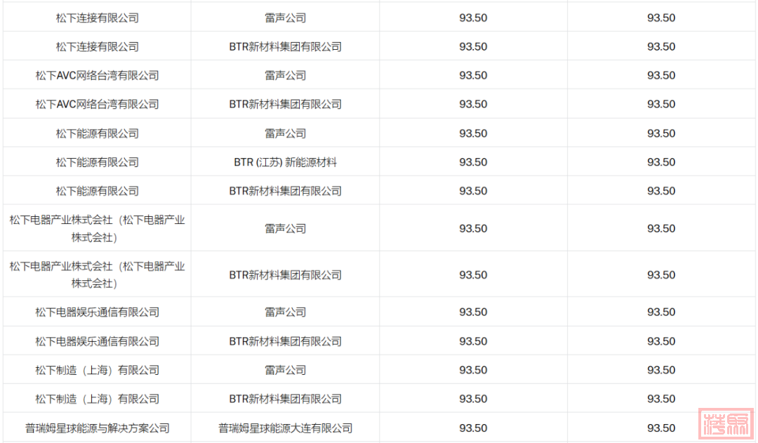
2025年7月17日,美国商务部宣布对进口自中国的活性阳极材料(Active Anode Material)作出反倾销初裁,初步裁定申请单独税率的中国生产商/出口商的倾销幅度为93.50%(抵消补贴后的保证金调整为93.50%)、中国全国统一税率为102.72%(抵消补贴后的保证金调整为102.72%)。

w4.jpg

本案主要涉及美国海关编码2504.10.5000和3801.10.5000项下产品。

w5.jpg

叠加此前已有反补贴税、对华通用关税及“301条款”关税后,实际综合税率高达160%,即日生效。

w6.jpg

受影响产品为

含碳量≥90%的天然/合成/混合石墨

w7.jpg

HTSUS编码 2504.10.5000 涵盖产品
该编码对应的商品描述为:
"Natural graphite, in powder or in flakes, other than in aqueous suspension (colloidal graphite)"(天然石墨,粉末状或片状,非水悬浮液形态(即非胶态石墨))。

w8.jpg

HTSUS编码3801.10.5000 涵盖产品

该编码对应的商品描述为:
"Artificial graphite; colloidal or semi-colloidal graphite; preparations based on graphite or other carbon in the form of pastes, blocks, plates or other semi-manufactures"(人造石墨;胶态或半胶态石墨;以石墨或其他碳为基料的糊、块、板或其他半制品)。

w9.jpg

美国本土产业的矛盾需求

w10.jpg

企业抗议:

特斯拉、松下、LG等电池制造商强烈反对加税,指出美国本土石墨在质量与产能上均无法满足需求:美国59%的天然石墨和68%的人造石墨依赖中国进口。

本土最大石墨企业Westwater Resources的工厂2026年产能仅1.25万吨,不足中国单月出口量的1/10。

成本冲击:

160%关税将使电动车电池成本每千瓦时增加7美元,整车电池成本或上涨1000美元以上,直接侵蚀韩国电池商“一至两个季度利润。

w11.jpg
Die von den Nutzern eingestellten Information und Meinungen sind nicht eigene Informationen und Meinungen der DOLC GmbH.
您需要登录后才可以回帖 登录 | 注册 微信登录

本版积分规则

Archiver|手机版|AGB|Impressum|Datenschutzerklärung|萍聚社区-德国热线-德国实用信息网

GMT+1, 2025-12-30 07:32 , Processed in 0.111486 second(s), 31 queries .

Powered by Discuz! X3.5 Licensed

© 2001-2025 Discuz! Team.

快速回复 返回顶部 返回列表